RAKsmart提供多个机房位置的物理服务器产品,包括美国、中国香港、日本、韩国、新加坡、马来西亚等地,之前已经为大家测评过美国/马来西亚/日本服务器,本文就来为大家测评下RAKsmart韩国服务器E3-1230方案大陆优化线路的速度和性能,评测数据仅供参考。
RAKsmart官网:点击进入
RAKsmart韩国服务器购买方案:
| CPU | 内存 | 硬盘 | 宽带 | 流量 | IP | 价格/月 | 购买链接 |
| E3-1230 | 16G | 1T SSD | 50M | 不限 | 1IP | $99.00 | 点击购买 |
| E5-2620*2 | 32G | 1T HDD | 50M | 不限 | 1IP | $139.00 | 点击购买 |
| E5-2630L*2 | 32G | 400G SSD | 50M | 不限 | 1IP | $149.00 | 点击购买 |
| E5-2683v4*2 | 64G | 1T SSD | 50M | 不限 | 1IP | $219.00 | 点击购买 |
| E5-2698v4*2 | 64G | 1T SSD | 50M | 不限 | 1IP | $269.00 | 点击购买 |
| Gold-6133*2 | 64G | 1T NVME | 50M | 不限 | 1IP | $319.00 | 点击购买 |
一、硬件读写
RAKsmart韩国服务器搭载英特尔至强E5-2630L v2处理器,24核心,内存大概32G左右,本文测试的CentOS 7系统,位置在韩国首尔 。解锁美区Netflix、YouTube Premium等。硬盘I/O速度三次分别为367MB/s、370MB/s、374MB/s,平均370MB/s左右,读写速度相对稳定。

二、Speedtest上传下载速度测试
从不同节点对RAKsmart韩国服务器E3-1230方案的上传下载速度进行测试,结果显示,各节点平均上传速度在35M+,其中Speedtest.net、上海和香港均为45M+;下载速度基本都在40M以上,满足本次评测的50M带宽规格。不同节点延迟不一样,比如到上海5G电信节点延迟60ms+,到东京节点延迟30ms+,整体表现非常出色。

三、去程路由测试
先来总结一下,RAKsmart韩国服务器E3-1230方案三网去程均为直连,无绕路情况,其中电信走的是优化仙湖路,联通经KT骨干网,三网延迟均保持在70ms左右,在同等配置韩国服务器中属于中上等。
1、电信去程

2、联通去程

3、移动去程

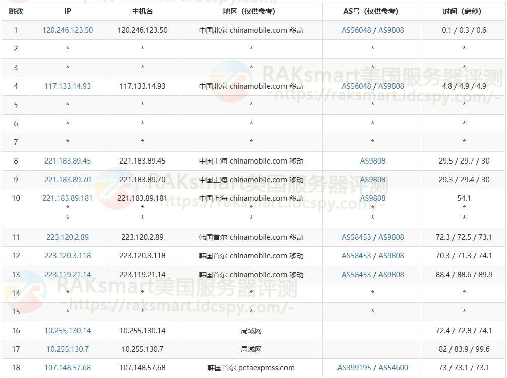
四、回程路由测试
本次测试出的三网回程均从日本出发然后直连国内各个节点,推测可能是因为网络运营商在国际网络链路规划时,日本有比较成熟、带宽资源充足的国际网络交换节点或者骨干网络设施。这些节点可以作为流量中转的大站 ,把来自韩国服务器的流量汇聚后,再更高效地转发回中国内地 。
1、电信回程


2、联通回程



3、移动回程



五、Ping延迟测试
在下午高峰期测试的RAKsmart韩国服务器E3-1230国内平均延迟为78ms(其他时间段可能会更低些),其中中国电信平均76ms,中国联通平均79ms,中国移动平均75ms,三网差距不大,满足低延迟韩国服务器要求。

国外平均延迟表现稍差点,主要是受距离影响,例如日本东京仅33ms,非洲南非却高达464ms,大家根据自身网站受众选择即可。这里提个建议,如果是面向海外地区,建议选择美国服务器延迟会更低些。

六、丢包测试
根据丢包测试结果图所示,全球范围内的丢包率都非常低,其中亚洲地区表现最优。


七、跑分测试
由于测试机器限制,本次只测出了单核的性能得分,最终为869.5。由于本次评测的为RAKsmart韩国服务器最低配置方案,在高峰期表现如此确实值得推荐,一般中小型网站使用此方案安全没有问题。

八、IP质量测试
IP属性是韩国首尔的IDC机房IP,网络相对干净。

九、流媒体解锁
可以看出Netflix(美国区 )、YouTube Premium(美国区 )、TikTok(新加坡中区 )等国外流媒体,不过 B站国内CDN不行。大家可以从下图自行查看是否有需要的解锁能力。

相关评测:
《RAKsmart美国服务器(硅谷机房)E5-2620方案大陆优化VIP线路速度性能评测》


